С правилами ознакомлен(а) Авторизация
Авторизация нужна для сохраниения Вашего "Избранного".
Войти через:
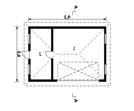
  • Первый этаж:
    Первый этаж::
    Первый этаж::
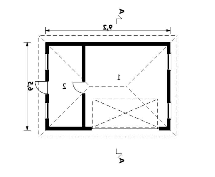
  • 4M2776 Проект широкого одноместного гаража с кладовкой

    Артикул4M2776
    Общая площадь:51.60 м2
    Высота дома:4.80 м
    Угол наклона кровли:30 °
    Площадь крыши:89.00 м2
    Кубатура:208.00 м3
    Площадь застройки:60 м2
    Материалы:
    Стены:газобетон, керамические блоки
    Перекрытие:по деревянным балкам
    Кровля:керамическая черепица, металлочерепица, цементно-песчаная черепица
    Фундамент:монолитная лента

    Спасибі, ми з Вами зв'яжемося найближчим часом.

    Отримати подарунок

    Ваші дані захищені

Планы этажей
  • Первый этаж:
    Первый этаж:
    Первый этаж:
Фасады и расположение на участке
Состав проекта

Приобретая проект дома в компании Dom4M, Вы получаете комплект чертежей - 2 экземпляра, необходимый для проведения строительных работ.

Проект содержит три раздела – АрхитектурныйКонструктивный и Инженерный: водоснабжение, отопление, вентиляция, канализация, электроснабжение (приобретается за дополнительную плату) + Пояснительная записка.

1. Архитектурный раздел:

  • Общие данные по проекту
  • План координационных осей
  • Поэтажные кладочные планы
  • Поэтажные маркировочные планы с экспликацией помещений
  • План кровли
  • Разрезы и состав конструкций
  • Фасады с ведомостью внешних отделок
  • Элементы проемов – спецификация
  • Ведомость перемычек – сечения и спецификация
  • Экспликация полов
  • Объемы основных строительных материалов
  • Архитектурные узлы в конструкциях

2. Конструктивный раздел:

  • Общие данные по проекту
  • Схемы расположения и расчеты фундаментов
  • Элементы каркаса – схемы расположения
  • Схема расположения перекрытий
  • Опоры перекрытия на стены или Узлы армирования
  • Элементы кровли – схемы расположения
  • Чертежи отдельных элементов, узлы крепления, сечения
  • Ведомости расхода стали и бетона

3.  Инженерный раздел (приобретается по желанию за дополнительную плату):

              Водоснабжение и канализация

  • Условные обозначения с общими данными
  • Поэтажная система водоснабжения и канализации
  • Аксонометрическая схема водоснабжения и канализации
  • Узлы и спецификация материалов

              Отопление, вентиляция

  • Условные обозначения с общими данными
  • Система вентиляции
  • Система отопления
  • Аксонометрическая схема системы отопления
  • Тепловая схема
  • Спецификация материалов

             Электротехнические решения:

  • Условные обозначения и общие данные
  • Принципиальная схема ВРУ
  • План сетей освещения, план силовых сетей
  • Схема системы уравнения потенциалов
  • Схема повторного контура заземления
  • Спецификация материалов

Проект является типовым и не учитывает конкретных условий строительства

Срок изготовления проекта дома составляет от 3 до 30 рабочих дней.

Объем проектной документации – от  50 до 100 страниц А4 и А3, в зависимости от сложности проекта

 

Наша команда Архитекторов, Конструкторов и Инженеров – всегда готовы воплотить Вашу мечту в реальность!

Мы можем вносить любые изменения в проект по Вашему пожеланию и адаптировать его с учетом конкретных геолого-топографических и климатических условий, за дополнительную плату.

  • Получить профессиональную консультацию у наших специалистов, Вы можете любым способом связи: закажите обратный звонок, по viber, e-mail, телефон - наши контакты.

Всегда рады Вам помочь!

Прочитать полный текст
Дополнительные пакеты

Вертикальная планировка

Основная цель вертикальной планировки заключается в создании спланированных поверхностей, удовлетворяющих требованиям застройки и инженерного благоустройства территории. Вертикальная планировка территории призвана создать благоприятные условия для размещения зданий и сооружений, прокладки улиц, проездов, подземных инженерных коммуникаций и пр. Все эти мероприятия связаны с работами по срезке, подсыпке и перемещению земляных масс. Соблюдение баланса земляных работ позволит использовать для насыпей грунт, снятый при изменении рельефа, вынутый при создании площадок и дорожек, прокладки дренажной.  

Чтобы создать вертикальную планировку участка, проводятся геодезические исследования.

  • делается съёмка земельного надела, которая позволит определить перепады высоты грунта на участке. Затем выясняется тип грунта на участке, глубина, на которой проходят подземные воды, нет ли у грунта склонности к пучению, когда он промерзает.
  • составление схемы планировки участка детально. Нужно определить, каким будет участок по высоте, построить высотный каркас территории.
  • проработка подробного плана, на котором наводятся новые горизонтали, делается новый проект территории.
  • делается детальная картограмма земляных работ, высчитывается точный объём грунта.

 

Цена: от 8500 грн

Вертикальная планировка

Вертикальная планировка

Основная цель вертикальной планировки заключается в создании спланированных поверхностей, удовлетворяющих требованиям застройки и инженерного благоустройства территории. Вертикальная планировка территории призвана создать благоприятные условия для размещения зданий и сооружений, прокладки улиц, проездов, подземных инженерных коммуникаций и т.д.

  • Цена от 8 500 грн.

Пакет "Инженерные сети"

Проект дома - это пакет документации, состоящий из архитектурного, конструкторского и инженерного разделов. Основу проекта составляют архитектурный и конструкторский разделы. В принципе, если заказчик доверяет прорабу и считает, что тот может собрать профессиональную команду специалистов по инженерным коммуникациям, то от разработки инженерной части можно и отказаться. Но дело в том, что архитектор, конструктор и инженер над проектом работают в связке и такие моменты, как, например, технологические проемы в перекрытиях и стенах для прокладки инженерных систем, предусматриваются ими еще на стадии проектирования.

Инженерный раздел включает в себя несколько подразделов

  • Водоснабжение и канализация (ВК)
  1. схема водоснабжения
  2. схема канализации
  3. общий вид системы.
  • Отопление и вентиляция (ОВ)
  1. схема отопления
  2. схема вентиляции
  3. обвязка котла
  4. общие указания и рекомендации по разделу. 
  • Электроснабжение (ЭТР)
  1. разводка освещения
  2. разводка силовых сетей
  3. схема ВРУ
  4. система по заземлению
  5. детальное описание и характеристики всех элементов системы.

ВАЖНО
Проследите, чтобы в разделах содержались общие данные, общее и техническое описание, спецификация материалов и оборудования.

Цена: от 150 грн. за м²

Пакет "Инженерные сети"

Пакет "Инженерные сети"

Проект инженерных сетей позволит грамотно проложить коммуникации и сделать дом по-настоящему комфортным и современным.

  • Цена: от 150 грн за м²

Изменения в проекте

Все наши типовые проекты учитывают основные потребности среднестатистической семьи, правда, в таком случае говорить об индивидуальности вашего будущего жилища не приходится. Но, чтобы дом выглядел оригинально и полностью соответствовал вашим требованиям, мы готовы внести изменения в проект.

ВАЖНО:

  • изменения не должны влиять на надежность и качество дома
  • множественные изменения вряд ли кардинально улучшат проект. В таком случае стоит подумать об индивидуальном проектировании с нуля

Могут быть внесены следующие изменения в проекте дома

  • перенос стенных перегородок, но без перемещения несущих стен, позволяет сделать перепланировку и изменить назначение комнат
  • изменение расположения окон и дверей позволит максимально реализовать ваши представления о комфорте
  • изменение типа перекрытий и стен
  • изменение высоты потолков (в проектах заложена высота 2,8 м);
  • добавить мансардный этаж
  • изменение угла наклона кровли и навесов
  • изменение типа фундамента, с учетом особенностей грунта на участке, добавить или изменить подвальное помещение и цокольный этаж
  • добавить или убрать гараж, навес, открытую стоянку или внести изменения в уже существующий проект
  • заменить конструктивный состав или добавить строительные и отделочные материалы
  • получить проект в зеркальном отображении

Цена:  от 2500 грн.

 

Изменения в проекте

Изменения в проекте

Дом, построенный по типовому проекту, может выглядеть оригинально 

  • Цена от 2 500 грн.

BIMx модель

Мы идем в ногу со временем и уже сегодня предлагаем вам возможность  получить вместе с проектной документацией  BIMx  модель -  основанной на технологии, обеспечивающей одновременную навигацию по 2D-документации и 3D-моделям зданий. 

Теперь вы сможете «покрутить, походить внутри, увидеть ваш будущий Дом со всех сторон» Посмотреть все размеры и высоты, спецификации проемов и тд. Вы получите файл, который будет вашим надежным, удобным помощником для  контроля строительства.

*Файл вы получаете в электронном виде и используете с помощью приложения BIMX на мобильных устройствах Apple и Android

Приложение BIMX доступно бесплатно в Play Market, App store

Демонстрация BiMx

Цена: 5200 грн.

BIMx модель

BIMx модель

 BIMx  модель - интерактивный просмотр трехмерной  модели вашего дома. Теперь вы сможете «покрутить, походить внутри, увидеть ваш будущий Дом со всех сторон»

  • Цена проекта 5 200 грн.

Пакет "Адаптация фундамента"

Сложно предугадать, какая почва будет на участке, где планируется построить дом. Поэтому типовые проекты домов разрабатываются с учетом усредненных параметров грунта. Но зачастую они существенно отличаются от инженерно-геологических параметров реального участка застройки. Следовательно, фундамент придется адаптировать под конкретный проект. 

Для этого и разработан пакет «Адаптация фундамента», который включает в себя

  • выбор фундаментных конструкций
  • расчет технических показателей:
  1. глубина закладки подошвы фундаментов
  2. несущие способности
  3. предельное напряжение грунта под подошвой фундамента
  4. площадь сечения рабочей арматуры, проч.
  • создание чертежей нулевого цикла

Адаптация фундамента, выполненная профессионалами, дает полную гарантию его надежности, а значит и надежности всего дома. Более того, строительство фундамента, адаптированного по уточненным инженерно-геологическим данным, может оказаться дешевле, чем вариант, изначально предложенный в проекте.

Цена: 5500 грн.
Адаптация под свайный фундамент от 6400 грн

Пакет "Адаптация фундамента"

Пакет "Адаптация фундамента"

Подготовка проекта фундамента под конкретный участок

  • Цена: от 5 500 грн.

Индивидуальное проектирование

За желание быть оригинальным и непохожим на всех, приходится платить. Это утверждение справедливо и для индивидуального проектирования домов. Да, такой проект всегда уникален и полностью учитывает все пожелания застройщика. Но он и обойдется дороже типового. Но здесь, как говорится, все зависит от предпочтений и финансовых возможностей клиента.

Но иногда бывает и так, что ситуацию может спасти только индивидуальное проектирование. Например, когда заказчик увидел дом в глянцевом журнале и категорически требует, чтобы его жилище выглядел именно так. Вот более прозаический случай: под застройку выбран нестандартный участок. А бывает и так, заказчик в уже выбранный типовой проект вносит такое количество изменений и дополнений, что проще, а главное, дешевле будет разработать "проект с нуля".

Создание индивидуального проекта включает в себя:

  • подготовка и утверждение техзадания
  • заключение договора на проектные работы и предоплата
  • создание концепции дома, выбор стиля и планировочных решений
  • согласование планов фасадов и помещений
  • разработка эскизного проекта, который необходим для получения разрешения на строительство
  • проработка разделов проекта.

Дополнительно можно заказать:

  1. Проекты дополнительных сооружений на участке -гараж, мастерская, баня, проч.
  2. Визуализацию проекта в формате 3D.

Определиться со стилем будущего дома можно в каталоге  "Индивидуальное проектирование".

Цена: от 150 грн./м²

Индивидуальное проектирование

Индивидуальное проектирование

Реализуйте свою индивидуальность с индивидуальным проектом!

  • Цена: от 150 грн. / м²

Пакет Геология

Инженерно-геологические изыскания проводятся для того, чтобы определить особенности земельного участка, выбранного под застройку. И главная задача таких работ в том, чтобы свести до минимума все возможные негативные факторы, которые могут повлиять на строительные работы и эксплуатацию уже готового дома. В первую очередь, эти данные необходимы для закладки фундамента. А, как известно, от его прочности напрямую зависит надежность всего строения.

При этом выполняются следующие виды работ:

  • обследование участка, отведенного под строительство, и прилегающих территорий
  • отбор образцов почв на участке
  • исследования образцов почв для определения физико-механических свойств грунтов
  • геодезическая съемка участка с прилегающими территориями и подготовка инженерно-геологического разреза.

Инженерно-геологические изыскания делятся на три категории сложности. 

1 категория

  • Поверхность земельного участка горизонтальная
  • небольшое количество показателей изменчивости грунтов
  • отсутствие грунтовых вод или наличие одного водоносного слоя
  • отсутствие геологических процессов и техногенных факторов.

2 категория

  • Земельный участок с заметным уклоном
  • существенное количество показателей изменчивости грунтов
  • два и более водоносных слоя
  • при этом физико-механические характеристики существенно не влияют на изменения  параметров фундамента, заложенных в проекте.

3 категория

  • Изменчивый рельеф земельного участка
  • основу участка составляют почвы различного происхождения
  • большая неоднородность показателей изменчивости грунтов
  • сложные горизонты подземных вод с чередованием водоносных и водоупорных грунтов
  • есть геологические процессы, влияющие на строительство и эксплуатацию здания
  • наблюдаются техногенные воздействия.

Необходимо понимать, что геологические работы – это разумные расходы, от которых зависит ваша безопасность. К тому же, зачастую, инженерно-геологические изыскания помогают снизить общую стоимость постройки дома, когда оказывается, что можно заменить изначально заложенные в проекте дома материалы на менее дорогостоящие или снизить их расход.

 

Цена: от 6000 грн.

Пакет Геология

Пакет Геология

Если вы хотите построить добротный дом, в котором будет жить не одно поколение вашей семьи, есть смысл воспользоваться пакетом "Геология", который выполнят квалифицированные специалисты компании Dom4m

  • Цена: от 6 000 грн.

Пакет Геодезия

Геодезические работы позволят не только оптимально вписать здание в окружающий ландшафт и инфраструктуру, но и позволят сэкономить время, деньги и не допустить перерасхода материалов.

Этапы геодезических работ

Топографическая съемка участка

На этом этапе важно учесть высоты, уклоны, заболоченные места и растительность на земельном участке, на котором будет располагаться дом.

Топографическая съемка дает возможность максимально точно рассчитать инженерные работы, такие как перемещение грунта и ориентация здания по сторонам света.

Кроме того, вся информация наносится на топографический план, который в дальнейшем пригодится для разработки ландшафтного проекта, дренажа, обустройства бытовой и ливневой канализации, систем автоматического полива, при работах по освещению участка и т. д.

Землеустроительные работы

В процессе этих работ определяются границы будущего домовладения и создается пакет землеустроительных документов. Это позволит вам без проблем оформить право на пользование землей.

Инженерно-геодезические работы

В ходе изысканий уточняются геодезические и топографические данные. Результатом таких работ является подробный технический отчет, который составят специалисты нашей компании.

Разбивочные работы

Бумажный проект максимально точно переносится на земельный участок: наносятся  оси сооружений и инженерных коммуникаций, определяется конфигурация котлована и ограждения.

 

Цена: от 3000 грн.

Пакет Геодезия

Пакет Геодезия

Пакет "Геодезия" представляет собой комплекс расчетов, которые позволят грамотно расположить дом на участке с привязкой к рельефу. 

  • Цена: от 3 000 грн.

Пакет "Тендерное предложение"

Тендерное предложение – это документ, в котором тщательно и подробно расписаны строительные материалы, указано их необходимое количества, а также приведен перечень предстоящих работ и их объем. Другими словами, это ваши затраты на постройку будущего дома. Но не только. Это еще и возможность контролировать расходы и корректировать перечень материалов и работ.

Тендерное предложение позволяет

  1. рассчитать общую стоимость строительства
  2. самостоятельно корректировать цены по каждой позиции
  3. привлечь наиболее выгодных подрядчиков
  4. грамотно контролировать подрядчиков на каждом этапе строительства
  5. контролировать расход строительных материалов
  6. тендерное предложение с указанием цен на материалы и работы облегчит получение в банке кредита на строительство.

Как правило, заказчик получает от нашей компании тендерное предложение в виде таблицы в формате *.xls. Это позволит застройщику в дальнейшем самостоятельно проводить анализ и редактирование документа.

 

Цена: 5800 грн.

 

Пакет "Тендерное предложение"

Пакет "Тендерное предложение"

Закажите подробную смету. Стройте с выгодой для себя!

  • Цена проекта 5 800 грн.

Пакет "Антилед"

В снежную зиму сугробы и лед на крыше доставляют массу хлопот. Перекрытия в современном доме вряд ли проломятся под их тяжестью, но снег за шиворотом и свисающие сосульки – это не самое приятное. Можно, конечно, и дедовским способом почистить крышу. Помахать лопатой на морозе 2-3 часа, время от времени прикрикивая на домочадцев в духе Василия Алибабаевича из "Джентльменов удачи": "Ты сюда не ходи, ты сюда ходи! Снег башка попадет"…

Но в современном мире уже давно придуманы удобные и эффективные системы снеготаяния и антиобледенения. И, кстати, используются они не только для крыш. Их основа – нагревательные кабели. Системы работают по принципу "теплый пол", но отличаются большей мощностью и меньшим шагом укладки кабеля.

Пакет "Антилед" представляет собой проектную документацию, разработанную с учетом особенностей энергоснабжения конкретного дома:

  • для плоской кровли и водостоков
  • для входной группы
  • для подъезда к гаражу.

Важно:

  • для сложной многоскатной кровли специалисты нашей компании спроектируют систему "Антилед" по индивидуальному заказу.

Цена:  4900 грн.

Пакет "Антилед"

Пакет "Антилед"

Ваш комфорт и безопасность в зимнее время

  • Цена проекта 4 900 грн.

Пакет "Молниезащита"

Некоторые частные застройщики не придают значения защите собственных домов от молнии. Причины разные: кто-то пытается сэкономить, кто-то вообще считает, что это чепуха. Но, как показывает практика, через 3-4 года после постройки дома, многие возвращаются к этому вопросу. Толи "гром грянул", и у соседа в грозу погорела вся бытовая техника, толи на глаза попалась статистика: "ежегодно в Украине случается около 3500 пожаров, вызванных ударом молнии"…

Мы предлагаем сразу решить этот вопрос: выбрать тип защиты и спланировать ее размещение на стадии проектирования дома. Во-первых, молния может ударить в дом и сразу после постройки – обидно будет, а во-вторых, из чисто эстетических соображений – не нужно будет лишний раз долбить стены дома и тянуть токоотвод по фасаду, нарушая продуманный внешний вид здания. 

Защита дома от молнии представляет собой систему устройств, расположенных как вне дома, так и внутри помещений. Внешняя молниезащита предупреждает попадание молнии в дом, внутренняя - обеспечивает защиту электросети от резких скачков напряжения. А дополнительные устройства защищают технику в доме от резких изменений электромагнитного поля в радиусе удара молнии.

В пакет "Молниезащита" входят

  • план-схема расположения молниеприемников, принимающих на себя прямые удары молний
  • схема-разрез токоотвода, отводящего ток от молниеприемника к заземлению
  • схема контура заземления, которое распределяет энергию молнии в почве, обеспечивая полную безопасность
  • усредненные расчеты сопротивления
  • подробный перечень необходимых материалов
  • рекомендации по реализации проекта.

Выбирая пакет "Молниезащита" от компании Dom4M, вы можете быть совершенно спокойны за безопасноть вашего жилища даже в самую сильную грозу.

Цена: 4900 грн.

Пакет "Молниезащита"

Пакет "Молниезащита"

Защита от молнии: подумайте о безопасности заранее

  • Цена проекта 4 900 грн.

Пакет "Центральный пылесос"

«Центральный пылесос» представляет собой разновидность системы аспирации (удаление мелких частиц посредством засасывания их воздушным потоком).

Система состоит из:

  • пылесос (устанавливается в техническом помещении);
  • система воздуховодов, по которым движется пыле-воздушная масса (чаще осуществляется скрытый монтаж в подготовке пола либо в пространстве за подшивным потолком);
  • пневморозетки и пневмосовки (к первым подключается гибкий шланг с телескопической штангой и насадкой, как в обычном пылесосе, вторые предназначены для экспресс-уборки, как правило, на кухне). 

 

 Плюсы:

  • удаляемый запыленный воздух не попадает обратно в помещение, а «выбрасывается» после агрегата на улицу;
  • Отсутствие шума в убираемых помещениях. 
  • Удобство уборки без «перетягивания» пылесоса из помещения в помещение, без использования удлинителей.
  • Скрытый монтаж системы, в комнате нет ничего кроме пневморозетки.

Цена проекта: от 4900 грн.

Пакет "Центральный пылесос"

Пакет "Центральный пылесос"

Неотъемлемая часть современного дома - комфорт, чистота и свежий воздух

 

 

  • Цена проекта: от 4 900 грн

Пакет "Комфортный дом"

Толковые словари утверждают, что комфорт - это совокупность бытовых удобств, без которых немыслима жизнь современного человека в современном доме. Большинство таких удобств закладываются еще на стадии проектирования. Но мы готовы расширить их список и помочь клиентам сделать собственное жилье максимально комфортным.

Поэтому наша компания Dom4m разработала для вас пакет "Комфортный дом", который позволит сделать жилище более прохладным в жаркий летний день, а в зимние холода – уютным и теплым.

В пакет "Комфортный дом" входят

  • Проект "теплого пола". Это современная технология обогрева дома. Ее можно использовать,  подключившись и к местной, и к централизованной системе отопления. Кроме того, полы с подогревом могут быть как основным, так и дополнительным источником тепла в помещении. Главное достоинство системы в том, что она создает равномерный тепловой режим, не сушит воздух и при этом органично вписывается в любой интерьер.
  • Проект системы вентиляции с рекуперацией. В отличие от традиционных систем, вентиляция с рекуперацией дает возможность сэкономить значительные средства при эксплуатации. Суть системы состоит в том, что отработанный воздух, проходя через рекуператор, отдает свое тепло, холодному потоку, заходящему с улицы. Все гениальное просто. Такая система позволяет в разы снизить затраты на отопление. Экономия доходит до 80%. А, кроме того, снижается нагрузка на сети. В летнее время с помощью системы вентиляции с рекуперацией можно охлаждать теплый воздух с улицы. А здесь вы уже получаете экономию от уменьшения потребления энергии при кондиционировании дома.
  • Проект системы кондиционирования. Такой проект предлагает вам на выбор канальный кондиционер с распределением воздушных потоков по помещениям или мульти-сплит систему, позволяющую к внешнему блоку подключить сразу несколько внутренних.

 

Цена: от 19700 грн.  

 
Пакет "Комфортный дом"

Пакет "Комфортный дом"

Не отказывайте себе в комфорте.  Дополнительный пакет "Комфортный дом" для тех, кто по-настоящему ценит домашний уют

  • Цена: от 19 700 грн.

Пакет "Теплый пол"

Знающие люди утверждают, что подогрев пола применяли еще древние римляне. А уж они-то точно знали толк в комфорте. Сегодня этот способ отопления не только не забыт, но и развивается на основе современных материалов и технологий. «Теплый пол» стал важной составляющей комфорта и отличным дополнением к любой отопительной системе.

Пакет "Теплый пол", который рекомендует наша компания, позволит вам создать в доме уютную атмосферу и в полной мере оценить преимущества этой технологии:

  • равномерное распределение тепла;
  • быстрый и экономичный нагрев воздуха;
  • удобная система регулирования и поддержания заданной температуры.

Пакет "Теплый пол" предполагает индивидуальное проектирование:

  • оптимальный подбор конструкции системы;
  • подбор циркуляционных насосов;
  • расчет параметров системы отопления;
  • расчет теплопотерь;
  • схемы системы отопления: площадь контура, шаг укладки, диаметры труб;
  • спецификация материалов и оборудования.

Цена: 90 грн. за м²

Пакет "Теплый пол"

Пакет "Теплый пол"

Создайте комфортный климат в вашем доме. Пакет "Теплый пол"

  • Цена: 90 грн за м²

Архитектурный паспорт

Каждый загородный дом обязан иметь свой паспорт. В этом документе собраны самые общие сведения о проекте дома. Что называется, не вдаваясь в подробности и детали. Потому что, более полную информацию всегда можно отыскать в архитектурном и конструктивном разделе каждого проекта. А в паспорте же указаны только самые основные размеры, высоты и технико-экономические параметры. 

В Архитектурном паспорте представлены документы, которые существенно ускорят всевозможные согласования в местных органах архитектурного надзора и, в конечном итоге, получение разрешения на строительство.

Разделы Архитектурного паспорта

  • Эскизная часть проекта:
  1. планы фасадов
  2. планы этажей
  3. разрезы по осям
  4. план кровли

Архитектурный паспорт лучше заказывать в той же компании, которая готовила и сам проект дома: как говорится, «при большом объеме, предполагается скидка». Согласитесь, что вопрос экономии для любого застройщика важен. И, кроме того, именно архитекторы и инженеры-конструкторы нашей компании, работавшие над вашим проектом, смогут сделать это органично и быстро.

 

Цена: 3500 грн.

Архитектурный паспорт

Архитектурный паспорт

Архитектурный паспорт позволяет получит разрешение на строительство в местных органах архитектурного надзора

  • Цена проекта 3 500 грн.

Адаптация проекта под сейсмозоны

Это большая проблема – выбрать проект дома для сейсмоопасного района. Количество специализированных проектов очень ограничено, поэтому сложно подобрать что-либо, соответствующее вашим представлениям о комфортном и уютном жилище.

Предлагаем свое решение этого вопроса. Вам не придется соглашаться на компромиссный вариант – безопасность в ущерб внешнему виду или наоборот. Мы готовы адаптировать любой наш проект под сейсмоопасный регион, где разрешена жилая застройка.

Важно

  • адаптация предполагает изменения в проекте для его соответствия Строительным нормам Украины по разделу Строительство в сейсмически опасных регионах;
  • количество и сложность изменений зависит от выбранного проекта и сейсмических характеристик района.

Цена:  от 16200 грн.

Адаптация проекта под сейсмозоны

Адаптация проекта под сейсмозоны

Сейсмически безопасный дом: и надежно, и красиво  

 

  • Цена: от 16 200 грн.

Дополнительная копия проекта

Закажите дополнительную копию проекта с печатью.

При типовом заказе мы отправляем два экземпляра: один экземпляр передается строителям, один остается у заказчика. Вы можете дозаказать ещё один экземпляр, если есть необходимость предоставить его третьим лицам (поставщикам материалов, например).

Также дополнительная копия проекта может пригодиться, если время «поджимает». Тогда, это поможет существенно ускорить работу по адаптации проекта, а наличие таких копий сразу у нескольких специалистов позволит сократить сроки строительства. Кроме того, это может здорово помочь при восстановлении утерянных или испорченных документов.

Звоните в компанию Dom4M, и мы оформим документы максимально оперативно.

Цена: 1800 грн.

Дополнительная копия проекта

Дополнительная копия проекта

Для предусмотрительных: дополнительная копия проекта с печатью

  • Цена проекта 1 800 грн.

Выезд архитектора

Выезд архитектора осуществляется по г. Киеву и близлежащим населенным пунктам.
Первичный выезд предполагает: получение технического задания и сбор информации, коммуникации, архитектурные данные строений, уточнение линейных и высотных размеров участка, фотофиксацию.

Цена: 1000 грн.в час*

*учитывается время с момента выезда из офиса и до момента возвращения назад

Выезд архитектора

Выезд архитектора

Получите консультацию и рекомендации от архитектора у Вас на участке

  • Цена: 1 000 грн. / час*

Пакет "Разрешение на строительство"

   Получение строительного паспорта здания

Строительный паспорт застройки земельного участка – это документ, на основании которого определяется комплекс градостроительных и архитектурных требований к размещению и строительству индивидуального частного жилого дома (в том числе садовых, дачных домов, хозяйственных зданий и сооружений, которые находятся на приусадебном участке, гаражей, элементов инженерной защиты, благоустройства и озеленения земельного участка) - но не выше 2-х этажей (без учета мансардного этажа) с площадью до 300 квадратных метров.

Для объектов строительства, на которые предоставляется строительный паспорт, разработка проекта строительства осуществляется исключительно по желанию заказчика. Проектирование на основании строительного паспорта осуществляется без получения градостроительных условий и ограничений.

В случае, если планируется строительство частного жилого дома выше 2-х этажей (без учета мансардного этажа), а также если площадь дома будет превышать 300 квадратных метров, то необходимо получить градостроительные условия и ограничения застройки земельного участка.

Для получения строительного паспорта застройщик обращается в Главное управление архитектуры и градостроительства с письменным заявлением о намерениях застройки земельного участка.

К заявлению также прилагаются:

  •  заверенная в установленном порядке копия документа, удостоверяющего право собственности или пользования земельным участком;
  •  заверенное в установленном порядке согласие совладельцев земельного участка на его застройку;
  • эскиз намерений застройки (местоположение зданий и сооружений на земельном участке, фасады, максимальные отметки высотности, расстояния до соседних земельных участков);
  • технические условия по инженерному обеспечению, которые получаются заказчиком самостоятельно и включаются в состав строительного паспорта;
  • проект строительства (при наличии);
  • фотографии объекта;
  • красные линии застройки М1:2000;
  • кадастровый план участка М1:2000;
  • топосъемка в М1:500;
  • схема застройки земельного участка с определением местоположения запланированных объектов строительства; с указанием запланированных подъездов к зданиям и сооружениям; расстояние от объекта строительства к улицам (дорогам); расстояние от объекта строительства к границам земельного участка;
  • подключение к инженерным сетям.

Органы градостроительства и архитектуры определяют соответствие намерений застройки земельного участка действующей градостроительной документации (генеральному плану населенного пункта, плану зонирования и детальному плану территории, схеме планирования территории) в части функционального, целевого, строительного и ландшафтного использования земельного участка. Отказ о предоставлении строительного паспорта вместе с соответствующим обоснованием выдается специально уполномоченным органом градостроительства и архитектуры в 10-тидневный срок. Причиной для отказа в предоставлении строительного паспорта является несоответствие намерений застройки земельного участка требованиям градостроительной документации на местном уровне, строительным нормам, государственным стандартам и правилам.

Цена: от 6000 грн.

 

    Получение разрешения на строительство (уведомление или декларация о начале строительных работ)

Строительные работы - это работы по новому строительству, реконструкции, техническому переоснащению действующих предприятий, реставрации, капитальному ремонту Строительные работы могут выполняться заказчиком только после получения документа, удостоверяющего право собственности или пользования земельным участком:

Уведомление о начале выполнения строительных работ – это документ, который касается объектов, строительство которых осуществляется на основании строительного паспорта, и которые не требуют регистрации декларации о начале выполнения строительных работ или получения разрешения на выполнение строительных работ. Строительство таких объектов осуществляется после направления уведомления о начале выполнения строительных работ в Инспекцию по местонахождению объекта строительства и подается только при условии, что площадь новостройки не превышает 300 квадратных метров.

Декларация, как и уведомление о начале выполнения строительных работ, предоставляет право на строительство. Она нужна для выполнения строительных работ на объектах, относящихся к I-III категории сложности. Подключение объекта строительства к инженерным сетям и сооружениям без регистрации уведомления или декларации запрещается. По действующему законодательству, заказчик несет ответственность за выполнение строительных работ без зарегистрированной декларации или без подачи уведомления.

Цена: от 3000 грн.

 

   Получение градостроительных условий и ограничений

Градостроительные условия и ограничения застройки земельного участка - это документ, содержащий комплекс планировочных и архитектурных требований к проектированию и строительству по этажности и плотности застройки земельного участка, отступлений домов и сооружений от красных линий, границ земельного участка, его благоустройства и озеленения, другие требования к объекту строительства, установленные законодательством и градостроительной документацией. Эти документы состоят из текстовой и графической части.

Графическая часть содержит:

- ситуационную схему местоположения земельного участка с отображением зоны влияния объекта градостроительства;

- схему использования земельного участка с отображением планировочных ограничений, предельной площади застройки, благоустройства, других видов использования, предлагаемого расположения зданий и сооружений, въездов-выездов, имеющихся инженерных сетей;

- схему (модель) объемно-пространственного решения.

Заказчик вправе обратиться в орган местного самоуправления, а также к лицам, которые предоставили технические условия, с просьбой продлить срок действия исходных данных.

Градостроительные условия и ограничения застройки земельного участка предоставляются заказчику управлением градостроительства и архитектуры городского совета в двухнедельный срок со дня регистрации ходатайства в случае, если указанные в заявлении намерения принадлежат к преимущественному или допустимому виду застройки соответствующей территории.

Для получения градостроительных условий и ограничений к заявлению прилагаются:

  • заверенная в установленном порядке копия документа о праве собственности (пользования) земельным участком;
  • ситуационный план-схема о местонахождении земельного участка (в произвольной форме);
  • выкопировки с топографо-геодезического плана М1:2000;
  • кадастровая справка с градостроительного кадастра (при наличии);
  • очередной кадастровый план (выписка из земельного кадастра - при отсутствии градостроительного кадастра);
  • фотофиксация земельного участка (с окружением);
  • градостроительный расчет с технико-экономическими показателями планируемого объекта строительства.

В случае, если намерения застройки земельного участка не соответствуют требованиям градостроительной документации и видам использования территории, орган местного самоуправления, в течение месяца со дня регистрации заявления, предоставляет заявителю заключение по этому несоответствию и рекомендации относительно возможного изменения намерений застройки земельного участка. Градостроительные условия и ограничения застройки земельного участка являются основанием для получения других исходных данных для проектирования объекта застройки и осуществления этого проектирования.

Цена: от 6000 грн.

 

   Изготовление и согласование генерального плана

Детализированный вариант генерального плана называется детальным планом территории. Он разрабатывается для территорий жилых районов, микрорайонов, кварталов новой застройки, комплексной реконструкции кварталов, микрорайонов устаревшего жилого фонда, территорий производственной, рекреационной и другой застройки. Последовательность разработки и  площади территорий, для которых создаются детальные планы, определяет соответствующий уполномоченный орган градостроительства и архитектуры в соответствии с  генеральным планом населенного пункта. Детальный план территории разрабатывается субъектами хозяйственной деятельности, в штате которых есть архитекторы, имеющие соответствующий сертификат, подтверждающий их квалификацию.

Решение о разработке генерального плана, плана зонирование территории, детального плана территории, расположенной в пределах населенного пункта, а также о внесении изменений в эту градостроительную документацию принимает соответствующий сельский, поселковый, городской совет. Решение о разработке детального плана территории, расположенной за пределами населенного пункта, или о внесении изменений в него принимает соответствующая районная государственная администрация.

Цена: от 10 000 грн.

 

   Технический надзор зданий и сооружений

Технический надзор осуществляется в течение всего периода строительства запроектированного объекта, для того, чтобы предупредить возможность нарушения государственных строительных норм, правил и законодательства в сфере строительства. Наличие специалиста, который ведет технический надзор за строительством, является одним из требований при получении документа, который разрешает начать строительные работы, а также документа, удостоверяющего успешную сдачу объекта строительства в эксплуатацию.

Техническое обследование строительных конструкций и инженерных сетей осуществляется в случаях, когда необходимо установить факт надежности здания и его безопасной эксплуатации.

Технический надзор обеспечивает заказчик (застройщик) в течение всего периода строительства объекта. Целью осуществления контроля является соблюдение проектных решений и требований государственных стандартов,

строительных норм и правил. Также должны контролироваться объемы работ, выполненных во время строительства и изменения (в том числе путем сноса) такого объекта. Технадзор могут осуществлять лица, имеющие квалификационный сертификат, выданный архитектурно-строительной аттестационной комиссией в соответствии с законодательством.

Цена: от 2000 грн.

 

    Авторский надзор за строительством

Авторский надзор - это услуга, целью которой является реализация существующего проекта. Такой надзор необходим для оформления разрешительной документации на строительство.

Он осуществляется архитектором – автором проекта объекта архитектуры, другими разработчиками утвержденного проекта или уполномоченными лицами (далее – генеральный проектировщик) в соответствии с действующим законодательством и договором с заказчиком (застройщиком) в течение всего периода строительства. При этом, предусматривается осуществление контроля за соответствием строительно-монтажных работ проекту.

Такой контроль позволит исключить всевозможные неточности, с которыми приходится сталкиваться при строительстве или ремонте, а также сэкономить деньги при подборе строительных материалов, освещения и прочего.

Существует два варианта проведения авторского надзора:

  • После начала ремонтных (строительных) работ на объекте составляется график выездов архитектора на объект.  Обычно, это происходит 2 раза в неделю. Данная схема позволяет архитектору проверять соответствие проведенных работ утвержденному проекту, оценивать качество работ, проводить консультации и отвечать на вопросы строителей.
  • Архитектор выезжает на объект по требованию. Это происходит исключительно в тех случаях, когда возникают проблемы и неясности, которые не могут быть разрешены строителями на месте.

Заказчик должен понимать, что архитектор не решает такие вопросы как: заказ и доставка строительных и отделочных материалов, их разгрузка. Он не может повлиять на сроки выполнения тех или иных работ. Основная задача архитектора - проконтролировать ремонтные (отделочные) работы и добиться их соответствия разработанному проекту.

Авторский надзор – это гарантия того, что все ремонтные и отделочные работы приведут к желаемому результату, который и был зафиксирован в проекте. Такие результаты фиксируются в журнале, который оформляется генеральным проектировщиком в двух экземплярах, один из которых хранится у заказчика, а второй - у генерального проектировщика. После принятия объекта в эксплуатацию генеральный проектировщик должен хранить экземпляр журнала авторского надзора в архиве.

Цена: от 2000 грн.

 

   Получение декларации о готовности объекта к эксплуатации

Принятие в эксплуатацию объектов, относящихся к I-III категории сложности, и объектов, строительство которых осуществлено на основании строительного паспорта, проводится путем регистрации Государственной архитектурно-строительной инспекцией и ее территориальными органами поданной заказчиком декларации о готовности объекта к эксплуатации. Датой принятия в эксплуатацию объекта является дата регистрации декларации или выдачи сертификата. Эксплуатация объектов, не принятых в эксплуатацию, запрещается.

Зарегистрированная декларация или сертификат являются основанием для заключения договоров о поставках, на принятый в эксплуатацию объект, необходимых для его функционирования ресурсов - воды, газа, тепла, электроэнергии, включения данных о таком объекте в государственную статистическую отчетность и оформления права собственности на него.

Цена: от 3000 грн.

 

   Услуги БТИ

Цена 4-10 грн. за м2 Минимальная цена техпаспорта 600 грн. (Гараж), квартира от 800 грн.

Услуги по изготовлению технического паспорта.

Технический паспорт - это документ, который составляется на основе материалов технической инвентаризации объекта недвижимого имущества и содержит основные сведения о нем. Техпаспорт изготавливается БТИ. Процедура технической инвентаризации обязательна. Она представляет собой обследование и технические измерения недвижимости (жилой или нежилой фонд) с определением фактической площади, технического состояния объекта недвижимости и определения его инвентаризационной стоимости.

Техническая инвентаризация проводится:

  • перед принятием в эксплуатацию объектов с завершенным строительством или после проведения реконструкции и капитального ремонта;
  • перед проведением государственной регистрации права собственности на объект незавершенного строительства;
  • перед проведением государственной регистрации права собственности на объект недвижимого имущества, образовавшегося в результате разделения, объединения или выделения доли из объекта недвижимого имущества, кроме случаев, когда в результате такого разделения, объединения или выделения доли завершенный объект принимался в эксплуатацию.

В других случаях техническая инвентаризация проводится по желанию заказчика.

 К объектам, подлежащим технической инвентаризации, относятся:

  •  многоквартирные жилые дома, общежития;
  •  одноквартирные (усадебные) жилые дома;
  •  многофункциональные здания и комплексы;
  •  здания и сооружения общественного и производственного назначения, инженерные сети, элементы благоустройства и т.п.;
  •  хозяйственные постройки (сараи, гаражи, летние кухни, мастерские, уборные, погреба, навесы, котельные, бойлерные, трансформаторные подстанции, мусоросборники и т.п.);
  •  хозяйственные постройки такие как: колодцы, выгребные ямы, заборы, ворота, калитки, и т.п.;
  •  садовые и дачные дома, гаражи (не относящиеся к хозяйственным: многоэтажные, подземные, одноэтажные - блочные);
  •  защитные сооружения гражданской защиты (гражданской обороны).

Услуги по оценке имущества

Проведение оценки имущества является обязательным в случаях:

  • создания предприятий (хозяйственных обществ) на базе государственного имущества или имущества, находящегося в коммунальной собственности;
  • реорганизации, банкротства, ликвидации государственных, коммунальных предприятий и предприятий (хозяйственных обществ) с государственной долей имущества;
  • выделения или определения доли имущества в общем имуществе, в котором есть государственная доля (доля коммунального имущества);
  • определения стоимости взносов участников и учредителей хозяйственного общества, если к указанному обществу вносится имущество хозяйственных обществ с государственной долей (долей коммунального имущества), а также в случае выхода (исключения) участника или учредителя из состава такого общества;
  • приватизации и другого отчуждения в случаях, установленных законом, аренды, обмена, страхования государственного имущества, имущества, находящегося в коммунальной собственности, а также возврата этого имущества на основании решения суда;
  • переоценки основных фондов для целей бухгалтерского учета;
  • налогообложения имущества по закону;
  • определения убытков или размера возмещения в случаях установленных законодательством;
  • в других случаях по решению суда или в связи с необходимостью защиты общественных интересов.

Экспертная оценка жилых домов, как и оценка недвижимости других типов, зачастую необходима:

  1.  для целей налогообложения при продаже, дарении, обмене;
  2.  для передачи недвижимости в залог (кредитование);
  3.  для предъявления в суде, в частности при разделе имущества;
  4.  для переоформления права собственности при получении наследства.

Особенностью оценки жилых домов является то, что в большинстве случаев при оценке дома требуется проведение также экспертной денежной оценки земельного участка, на который расположен этот дом.

Оценочная стоимость недвижимого имущества, кроме объектов незавершенного строительства, определяется путем применения сравнительного подхода на основе информации о продаже недвижимого имущества, которое было продано не более чем за шесть месяцев до даты проведения оценки или предлагается для продажи на дату проведения оценки.

Общим алгоритмом применения сравнительного подхода являются:

  • идентификация объекта оценки и связанных с ним прав, то есть установление соответствия такого объекта имеющимся исходным данным и информации о нем;
  • подбор объектов сравнения;
  • определение характеристик, подлежащих корректировке;
  • внесение поправок;
  • определение стоимости объекта оценки путем согласования полученных величин стоимости объектов сравнения.

Оценочная стоимость объекта оценки может определяться путем применения других методических подходов, на выбор субъекта оценочной деятельности, с учетом индивидуальных характеристик объекта и особенностей, предусмотренных национальными стандартами оценки.

 

   Приватизация земельных участков

Приватизация земли - это переход прав собственности на земельный участок физическому или юридическому лицу. Гражданин, который является пользователем земли и заинтересован в ее приватизации, должен подать заявление в органы местной государственной администрации по месту расположения этого участка. Орган местного самоуправления или орган исполнительной власти рассматривает поданное заявление в течение месяца и выдает решение на разработку проекта приватизации земли.

На разработку документации уходит 1-2 дня. Выдача разрешения происходит в срок от 14 до 180 дней в зависимости от того, где находится земельный участок.

Для приватизации земли необходимо представить следующие документы:

  • оригинал решения органов гос. администрации, в компетенции которых находится передача прав собственности на землю. Это решение сельской, городской, районной, Киевской или Севастопольской администрации;
  • копию генерального плана или проекта формирования границ участка;
  • копии документов на здания и сооружения (если они зарегистрированы);
  • копии паспорта и ИНН (для физических лиц), нотариально заверенную копию свидетельства о регистрации, копию свидетельства о выплате налогов, копия справки из единого гос. реестра предприятий и организаций (для юридических лиц). 

Цена: от 10 000 грн. под ключ

 

   Изменение целевого назначения

Каждый земельный участок имеет определенное целевое назначение. Иногда возникают ситуации, когда владельцу необходимо изменить целевое назначение земельного надела. Для этого необходимо подать заявление (ходатайство) в соответствующую администрацию, в ведомстве которой находится данный участок. К заявлению необходимо приложить копии следующих документов:

  • государственного акта, который подтверждает право собственности на землю;
  • копии паспорта и ИНН;
  • обоснование изменения целевого назначения земли (в нем необходимо объяснить причину изменения назначения участка).

После рассмотрения пакета документов будет вынесено разрешение на изменение целевого назначения земли. После этого необходимо разработать проект, согласовать его со всеми инстанциями и предоставить утверждение в орган, выдавший разрешение на изменение целевого назначения земли. Только после этого будет зарегистрирован новый государственный акт, в котором будет указано новое назначение земельного участка.

Изменение целевого назначения земли осуществляется в несколько этапов. На разработку проекта уходит 1-2 дня, а на согласование может уйти до полутора месяца.

Для проведения данной процедуры необходимо предоставить:

  • оригинал решения государственной администрации, в компетенцию которой входит выдача разрешений на изменение целевого назначения земли.
  • разрешение органов архитектуры (при его наличии).
  • физическим лицам необходимо представить копии паспортов и ИНН, для юридических лиц необходимо представить нотариально заверенные копии свидетельства о регистрации, устава, свидетельства о выплате налогов и справки-выписки из единого государственного реестра предприятий и организаций.

Согласно Земельному кодексу Украины от 25.10.2001 г. (с изменениями и дополнениями), изменение целевого назначения земельных участков частной собственности осуществляется:

  • по земельным участкам, расположенным в пределах населенного пункта, - сельским, поселковым, городским советом;
  • по земельным участкам, расположенным за пределами населенных пунктов, - районной государственной администрацией;
  • по земельным участкам, расположенным за пределами населенных пунктов, не входящим в территорию района или, в случае если районная государственная администрация не будет образована, - Советом министров Автономной Республики Крым, областной государственной администрацией.

Проект землеустройства по выделению земельного участка частной собственности, целевое назначение которого подлежит изменению, разрабатывается по заказу владельца земельного участка без предоставления разрешения на его разработку. Данное разрешение выдается Советом министров Автономной Республики Крым, органом исполнительной власти, органом местного самоуправления.

Цена: от 10 000 грн. под ключ

 

   Раздел и объединение земельных участков

Раздел земельного участка возможен в следующих случаях:

1. по желанию владельца земельного участка, при условии, что в результате разделения, границы участка не будут нарушены;

2. раздел земельного участка в случае отчуждения одной или нескольких ее частей;

3. разделение в натуре при разделе между долевыми совладельцами земельного участка;

4. раздел земельного участка можно осуществить, если каждая из частей, полученная после разделения, может стать индивидуальным участком земли.

Раздел земельного участка проводиться по желанию владельца отделить одну или несколько частей. При разделении участка земли на несколько - устанавливаются новые межевые знаки.

 

Раздел земельного участка возможен после разработки документации по землеустройству и формированию участка в Государственном земельном кадастре с целью присвоения кадастрового номера и проведения государственной регистрации права собственности отдельно на каждый из участков, которые возникли в результате раздела.

Объединение земельных участков возможно при соблюдении следующих условий:

  1. все земельные участки принадлежат одному владельцу;
  2. участки имеют общую границу;
  3. объединяемые участки имеют тождественное целевое назначение.

Объединение осуществляется по желанию собственника земельного участка.

Созданные в результате разделения или объединения земельные участки после оформления документов в Госземагентстве, в обязательном порядке регистрируется в Государственной регистрационной службе.

Для процедуры раздела/объединения земельных участков необходимо предоставить следующие документы:

  • нотариально заверенное заявление о разделе/​объединении земельных участков;
  • нотариально заверенная копия государственного акта на землю;
  • копия паспорта и идентификационного кода (для физических лиц), нотариально заверенные копии свидетельства о регистрации, устава, свидетельства об уплате налогов, справки из единого государственного реестра предприятий и организаций (для юридических лиц).

Цена: от 10 000 грн. под ключ за каждый участок

 

    Присвоение кадастровых номеров

Кадастровый номер - это уникальный номер, присвоенный только одному земельному участку. Обязательным этапом присвоения кадастрового номера является внесение данного номера в электронную базу. Кадастровый номер сохраняется в течении всего периода существования участка (как физически, так и юридически). При этом смена собственника земельного участка или его целевого назначения не дает оснований для изменения кадастрового номера.

Список документов, необходимых для присвоения кадастрового номера участкам, на которые выдавались государственные акты старого образца (до 2003 года):

  • нотариально заверенная копия Государственного акта старого образца;
  • выкопировка с указанием местоположения земельного участка, заверенная печатью сельского совета (садового товарищества) и подписью председателя;
  • справка из сельского совета (садового товарищества);
  • справка из районного центра ГЗК (государственного земельного кадастра) о том, что Государственный Акт зарегистрирован в книге регистрации гос. актов на земельные участки;
  • копия всех страниц паспорта и идентификационного кода для физического лица или нотариально заверенные копии всех учредительных документов юридического лица.

Владельцы земельных участков, которые оформили право собственности или право пользования до 2003 года (госакты красного и желтого цвета), могут столкнуться с трудностями при отчуждении земельного участка, поскольку в этих актах нет кадастрового номера. В договорах же купли-продажи, дарения, мены, а также в договорах ипотеки, с целью идентификации земельного участка, указывается кадастровый номер.

Наша компания реализует комплекс услуг по подготовке и внесению информации в базы данных государственного кадастрового учета земельных участков.

Цена: от 6000 грн.

 

    Государственная регистрация прав на недвижимое имущество. 

Государственная регистрация прав проводится органом государственной регистрации прав и нотариусом, путем внесения записей в Государственный реестр прав. Нотариус при этом выступает как специальный субъект, на которого возлагаются функции государственного регистратора прав на недвижимое имущество.

Орган государственной регистрации прав проводит:

  • государственную регистрацию прав на недвижимое имущество по месту нахождения такого имущества;
  • государственную регистрацию обременений прав на недвижимое имущество независимо от места расположения такого имущества;
  • учет бесхозного недвижимого имущества по месту нахождения такого имущества.

Если недвижимое имущество расположено в пределах территории, на которой действуют два и более органов государственной регистрации прав, то регистрация прав и учет бесхозного недвижимого имущества проводятся одним из таких органов, выбранным на усмотрение заинтересованного лица или уполномоченного им лица.

В Государственном реестре прав регистрируются имущественные права и их обременения на объекты недвижимого имущества, а именно: земельные участки, предприятия как единые имущественные комплексы, жилые дома, здания, сооружения или их отдельные части, квартиры, жилые и нежилые помещения.

Цена: от 3000 грн.

Пакет "Разрешение на строительство"

Пакет "Разрешение на строительство"

Для тех, кто строится в Киеве и Киевской области, а также в некоторых других городах, мы можем предложить помощь в оформлении документов.

  • Уточняйте цену у менеджера
Фасады

Проект широкого одноместного гаража с кладовкой 4M2776

Нужен всем в семье гараж:

Для машины  лучший страж!

Для вещей полезных – склад,

Да, хозяин будет рад.

 

Место есть велосипеду,

В осень связанному пледу,

Ровной стопке зимних шин,

И канистре под бензин.

 

На стене развесим полки –

Ведь от них немало толку.

Инструмент да инвентарь:

Кто хозяин – тот и царь!

 

А с фасадом симпатичным

Так и выглядит отлично:

Украшение двора!

Хоть сейчас кричи «Ура».

 

Гаража проект удачный

Отвезем семьей на дачу,

Он собой украсит двор,

Глядя окнами в забор.

Нужен всем в семье гараж:

Для машины  лучший страж!

Для вещей полезных – склад,

Да, хозяин будет рад.

 

Место есть велосипеду,

В осень связанному пледу,

Ровной стопке зимних шин,

И канистре под бензин.

 

На стене развесим полки –

Ведь от них немало толку.

Инструмент да инвентарь:

Кто хозяин – тот и царь!

 

А с фасадом симпатичным

Так и выглядит отлично:

Украшение двора!

Хоть сейчас кричи «Ура».

 

Гаража проект удачный

Отвезем семьей на дачу,

Он собой украсит двор,

Глядя окнами в забор.

Прочитать полный текст
История просмотров
Комментарии
Чтобы оставить комментарий, Вы должны либо заполнить поля ниже, либо авторизироваться на сайте.
Загрузить фото, до 5 штук
Ваша оценка:
Подобные
ЗАКАЗАТЬ
Категории
© 2010-2021 Dom4M. Все права защищены
This site is protected by reCAPTCHA and the Google Privacy Policy and Terms of Service apply